Co-Founder and CTO of drone delivery startup that delivers medicine to rural areas. Fully in-house design, build, operation of custom VTOL flying wing aircraft with ranges up to 100km. Drones have been deployed in some of the most challenging conditions from the Arctic Circle to remote jungles and warzones.
Hi I'm
Ryan
Aerospace - Design - Engineering - Robotics - Technology
"Around here, however, we don't look backwards for very long. We keep moving forward, opening up new doors and doing new things... and curiosity keeps leading us down new paths."
-Walt Disney
About Me
Quick Start Guide
-
Co-Founder and CTO of a drone technology startup
-
Several patent applications in the aerospace sector
-
Graduated Aerospace Engineering at the University of Toronto
-
Undergrad Thesis + Conference Paper in Aerodynamics
-
TA, Technical Advisor, and Research Assistant
-
Former Robotics World Champion
-
I like sports, building things, and spending time with friends
Things I've Worked on
Project Highlights

Full stack Hardware/Software Development such as Hospital IoT Devices done in 3 weeks. Physical design in CAD. CAM/CNC Manufacturing. Custom electronics/firmware/software for IoT device. Back end database to store data from devices over cellular or network. Front end cloud portal for users to access analytics.
eng
design
Timeline
Aerlift
Co-Founder and CTO (2019-Present)
-Design, testing, and production of custom flying wing VTOL aircraft
-Architect and development of cloud management software
-Managing projects with Governments and NGO's for deployment of drones in austere environments
SAFRAN
Research and Technology Intern (2017-2019)
-Design and testing of several patent pending aerospace technologies
-2nd place winner in company innovation challenge
-Specialized in metal and polymer additive manufacturing
University of Toronto
Engineering Science (2014-2019)
-Major in Aerospace Engineering with Minor in Business
-Thesis in anechoic wind tunnel testing for aviation
-Aircraft Design Capstone Winner
-TA, Course Technical Advisor, Research Assistant
Crescent School
Elementary, Middle, High School (2004-2014)
-Robotics team captain (FRC/VEX 610) 2013 World Championship Winner
-CISMF Concert Band 1st Trumpet, Badminton Team, Yearbook, Outreach
-Summer IT Technician wiring server room / network racks
-Ron Bertram Quill and Quire Prize, Tansey Cup, Board of Governors Award
Awards
Lo Social Venture Fund
2021 - $30k CAD
-Presented to University of Toronto graduates with solution-based social enterprises providing positive impact to the global community
Ian and Shirley Rowe Innovative & Entrepreneurial Spirit Award
2019 - Inaugural $4k CAD
-For an Engineering Science student at the University of Toronto demonstrating a creative and innovative entrepreneurial story
University of Toronto FIRST Robotics Scholarship
2014 - $2k CAD
-Granted to students part of the FRIST Robotics Program in Canada
Duke of Edinburgh Award
2014 Bronze Level
-Award to youth under 25 for self-development in area of volunteering, physical, skills, and expedition
House of Commons Commendation
2013
-Letter of Distinction from Canadian Minister of Science and House of Commons Commendation for robotics
- Patents
- Papers
- Certifications
Hybrid Additive Manufacturing Methods
US Patent Office: US20190381603A1
Combination of direct deposit and powder bed additive techniques to produce hollow structural components to reduce weight and increase strength
Landing Gear Structure with Harness
US Patent Office: US20200189494A1
Design of brace with embedded passages to reduce weight an improve stiffness
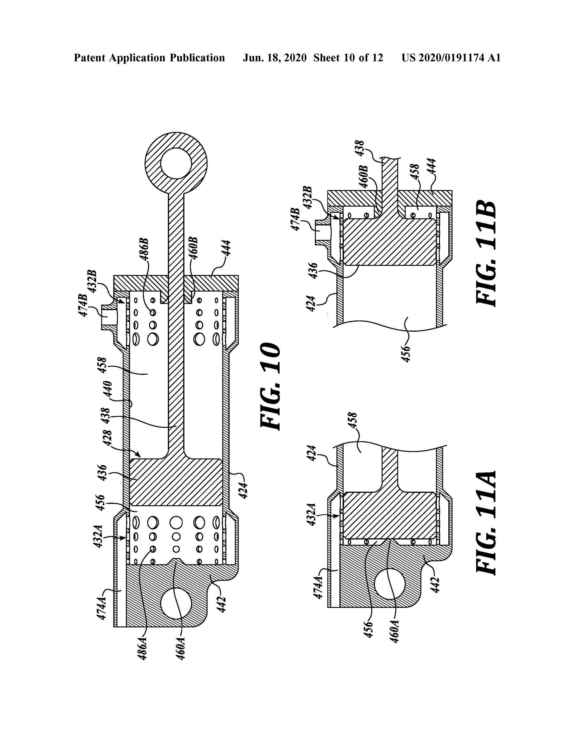
Multi-channel Hydraulic Snubbing Device
US Patent Office: US20200191174A1
Design of hydraulic actuator that passively achieves variable flow control with a 3D printed variable oil restrictor using microfluidic channels.
Landing Gear Brace Aeroacoustics
Tam R, Andrego N, McCarthy P, Ekmekci A – ICVS Montreal 2019
Wind tunnel testing of multiple brace geometries in anechoic wind tunnel to develop noise reduction techniques
Wind-Induced Noise of Perforated Architectural Panels
Andrego N, Tam R, McCarthy P, Ekmekci A – ICVS Montreal 2019
Analysis of noise mitigation techniques for architectural panels
Advanced Operations Drone Pilot License
2022
Transport Canada
Pyrotechnician Certificate
2016
Natural Resources Canada
Miscellaneous Info About Me
Tech Specs
-
Key Features
Aerodynamics/Fluid Mechanics
Aircraft Dynamics and Stability
Control Systems
Hardware Design and Development
Metals and Polymer Additive Manufacturing
Multimedia (Adobe Suite/Web)
Rapid Prototyping
Software, Firmware, Cloud Development
Systems Design
-
Available Languages
English: Native
French: Read/Write/Spoken Elementary Level
Chinese (Cantonese): Spoken Conversational
Chinese (Mandarin): Basic
-
Activities
Arts & Crafts
Badminton
Biking
Computer/Networking Hardware
Rock Climbing
Ski/Snowboard
Yoga
-
Physical Specs
Height: 175cm [5’10”]
Weight: 52kg [115lb] (curb weight)
Power to Weight: 2w/kg (FTP on bike)
-
Ethos
The best time to plant a tree was 20 years ago. The second best time to plant a tree is right now.
Some Random Fun Things
Photo gallery
Say Hi!
Contact Support






